0 引言
MPEG(Moving Picture Experts Group)是运动图像专家组的英文缩写。MP3是MPEG Audio Layer-3的缩写,即MPEG第3层音频编码标准,使用MP3标准对音频数据编码既可以获得较大的音乐数据压缩比,又可以得到较好的音乐回放质量。国内外现有的MP3解码方案实现有2种方案:硬件和软件解码。利用专用解码芯片的硬件解码,其灵活性不好,并且硬件解码芯片的价格昂贵。基于DSP或ARM等处理器开发平台的软件解码,扩展新能好,性价比高。
ARM(Advanced RISC Machines)既可以认为是一个公司的名字,也可以认为是对一类微处理器的通称,还可以认为是一种技术。目前,采用ARM技术知识产权(IP)核的微处理器,即通常所说的ARM微处理器,已遍及工业控制、消费类电子产品、通信系统、网络系统、无线系统等各类产品市场基于ARM技术的微处理器应用约占据了32位的RISC微处理器75%以上的市场份额,ARM技术正在逐步渗入到我们生活的各个方面。
本文采用了ARM微处理器作为整个音频播放系统的控制和管理单元。出发点即为研究数字音频技术在ARM嵌入式系统中的应用,结合数字音频和ARM嵌入式系统这两个前沿技术,设计一个基于ARM嵌入式系统的数字音频播放系统。
1 系统的总体方案
本文介绍一种基于ARM LPC2131的新式MP3播放器设计,这种设计思路是以LPC2131控制器为核心,来协同音频解码模块和音乐文件存取模块。这样可以克服现在市场上MP3价格高昂和音质之间的矛盾,并且具有海量存储的优点。总体设计方案如图1所示,是以ARM LPC2131作为控制器来控制音频解码模块和音乐文件存取模块。
图1 系统总体图
2 硬件设计
2.1 音频解码模块设计
音频解码模块包含一个高性能,自主产权的低功耗DSP处理器核VS_DSP4,工作数据存储器,为用户应用提供5 KB的指令RAM和0.5 KB的数据RAM。串行的控制和数据接口,4个常规用途的I/O口,1个UART,也有1个高品质可变采样率的ADC和立体声DAC,还有1个耳机放大器和地线缓冲器。
2.2 音乐文件存取模块设计
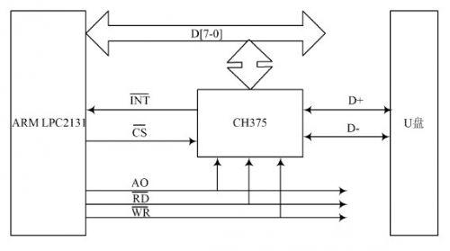
CH375的USB主机方式支持并行接口和串行接口。在USB主机方式下,CH375支持各种常用的USB全速设备,外部ARM需要编写固件程序按照相应的USB协议与USB设备通信。但是对于USB存储设备,CH375内置了相关协议,通常情况下,外部ARM不需要编写固件程序,就可以直接通信,其原理设计图如图2所示。
图2 音乐文件存取模块
3 软件设计
系统软件采用模块化程序设计,系统主程序主要完成的内容有:系统参数初始化、打开中断、读取*.MP3文件等。系统主程序流程图如图3所示。可以看出,主程序是一个死循环,在系统上电初始化完毕后,系统一直在不断的执行这个循环程序。在循环过程中,若产生中断,则程序就转去执行相应的中断服务程序。
图3 工作原理图
4 实验结果及分析
依照上面的设计方案,对设计的实物进行测试,音质流畅,各项技术指标均正常,达到了设计要求。
本设计具有以下几个优点:
(1)本设计主要采用SPI总线区别于通常的UART总线,这样可以有效地提高数据的传输速率,使播放更加流畅,音乐清晰无杂音;
(2)支持多种格式的音乐,除了MP3,WMA格式外,还支持Midi以及WAV格式的音乐。这样对使用者来说相当方便,再也不用在网上艰难地找那些只能适合自己MP3格式的歌曲;
(3)在制作的时候还利用了CH375模块,其效果是使得MP3具有海量存储能力,这样能给使用者带来很多方便,便于出门携带等;
(4)操作简单,使用方便,适合各个年龄段的人使用,只要打开电源开关,音乐就会按着自己先前设置好的顺序依次播放。
5 结语
本设计采用了需要移动部件来读取磁带或CD上的编码数据的音乐播放器,MP3播放器采用U盘存储歌曲。MP3播放器只不过是一个嵌置有软件应用程序的数据存储设备,允许用户将MP3文件传递到MP3播放器。MP3播放器还包含用来从CD或网站复制音乐的实用程序,并且能够按希望的播放顺序组织和创建歌曲列表。这个歌曲列表称为“播放列表”。还有其最主要的特点就是可以海量存储音乐,U盘内存有多大,也就相当于你的MP3播放器有多大内存。这是一般市场上卖的MP3所没有的功能,也是将来MP3的发展趋势。
APP下载
登录





热门文章




